团队管理
灵活权限管理
产品采集计划
多平台产品秒级采集
产品上架计划
产品自动批量上架
产品同步计划
产品自动产品同步
产品更新计划
产品自动批量更新
产品智能淘汰
产品智能批量淘汰
内置图片空间
实现自动平台同步
内置CSV空间
实现自动批量上架更新
产品自动定价
通过价格策略自动定价
图片批量翻译
图片批量翻译在线精修
平台热销榜单
各平台大数据热销榜单
竞品追踪
多对多竞品追踪分析
智能库存预警
根据配置自动库存预警
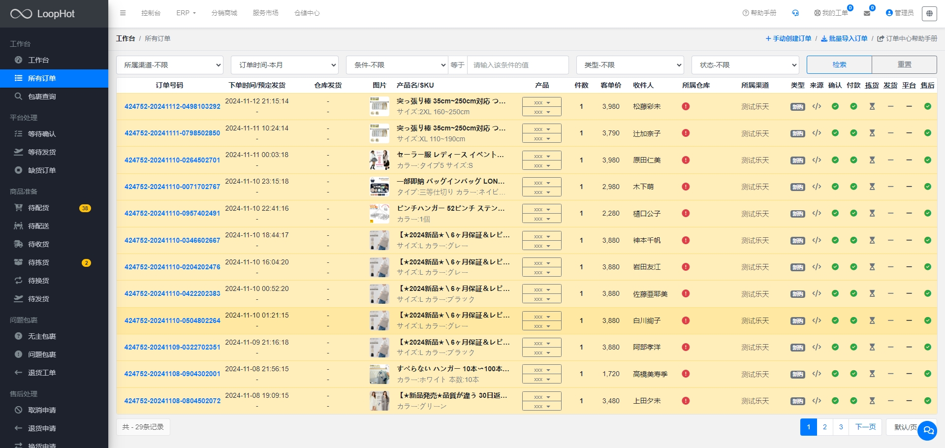
自动抓取订单
自动抓取店铺订单
手动创建订单
手动创建订单
订单批量导出
订单批量导出
订单导出模板设置
多模板灵活导出订单
订单批量发货
订单批量自动发货
物流轨迹查询
国内国际物流轨迹查询
待采购队列
待采购订单队列处理
待配送队列
待配送订单队列处理
待收货队列
待收货订单队列处理
多仓发货支持
简单高效的多仓发货
物理库存管理
管理多个仓库的库存
退货工单队列
国内采购退货工单
产品模板
实现产品自动装修
产品自动串联
实现店内产品推荐
自动库存联动
自动更新线上库存
缺货订单管理
缺货订单批量取消
售后订单管理
售后订单自动抓取
本文将介绍如何开通ERP账号以及ERP的正确使用流程。